Вакуумные траверсы
Транспортировка грузов между участками цеха является неотъемлемой частью производственного процесса. Для этого применяют разные виды кранов и устройства для фиксации перемещаемых объектов – механический, магнитный или вакуумный грузозахват.
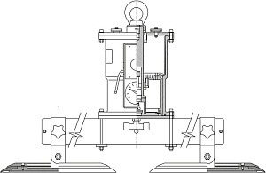
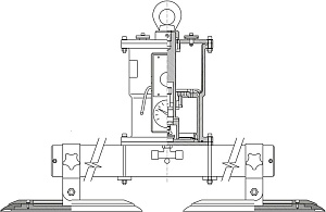
Самоприсасывающаяся вакуумная траверса – идеальное подъемное оборудование, обеспечивающее перемещение готовых изделий и заготовок весом от 75 кг до 4 тонн. Область ее применения достаточно обширна: вертикальная или горизонтальная транспортировка грузов, имеющих относительно гладкую и чистую поверхность – листовой металл, шлифованные каменные блоки, деревянные или пластиковые плиты и т.д. В случаях, когда применение самоприсасывающейся траверсы невозможно из-за воздухопроницаемости изделия или отсутствия поверхности, отвечающей необходимым требованиям, можно использовать грузоподъемные устройства с вакуумным генератором.
ОБОРУДОВАНИЕ AERO-LIFT
Использование вакуумного оборудования AERO-LIFT позволяет добиться оптимизации рабочего процесса, снизить затраты, повысить производственные и экономические показатели, и как следствие, обеспечить рентабельность предприятия и стабильный рост прибыли.
Грузоподъемное оборудование AERO-LIFT – это качественная немецкая продукция по низким ценам и с гарантией последующего сервисного обслуживания, которое обеспечат команда высококвалифицированных специалистов.
Приобрести вакуумные траверсы AERO-LIFT можно у официального дилера в Москве – компании «Контур».

